Вентиль запорный с сильфонным уплотнением АСТА серии В333 с электроприводом

Вентиль запорный с сильфонным уплотнением АСТА серии В333 с электроприводом

DN: 15–500
PN: 40 бар
t max°: 400 °С
Материал корпуса: Углеродистая сталь GS-C25+13Cr
Присоединение: фланцевое

Вентиль запорный с сильфонным уплотнением АСТА серии В333 с электроприводом

Обзор

Вентили — запорная арматура, предназначенная для перекрытия потока среды в трубопроводах различных систем: технологических, пароконденсатных, водои теплоснабжения.

Особенности конструкции

  • Седловое уплотнение «металл по металлу»
  • Сильфонное уплотнение по штоку, не требующее периодического сервисного обслуживания
  • Аварийное сальниковое уплотнение
  • Указатель положения «открыто/закрыто»
  • Разгруженный плунжер для больших типоразмеров
  • Невыдвижная конструкция штока

Обзор моделей

Тех. информация

Номинальный диаметр DN 15 – 500
Условное давление PN 40 бар
Температура рабочей среды От –40 °С до 400 °С
Рабочая среда ВПар, вода, воздух, нефтепродукты и другие среды, совместимые с материалами конструкции вентиля
Тип присоединения Резьбовой G
Фланцевый по ГОСТ 33259-2015
Тип управления Резьбовой G
Штурвал — стандарт / Редуктор, электропривод — по запросу
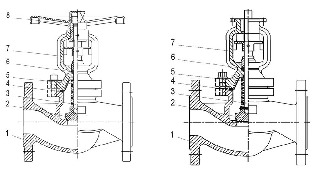
Наименование Материал
1 Корпус Углеродистая сталь GS-C25+13Cr
2 Плунжер Нержавеющая сталь 20X13
3 Шток Нержавеющая сталь 20X13
4 Уплотнение корпуса Графит
5 Сильфон Нержавеющая сталь 08X18H10
6 Уплотнение штока Графит
7 Крышка корпуса Углеродистая сталь GS-C25+13Cr
8 Штурвал Углеродистая сталь

Скачать

Цвета

DOP, CAD

Еще в этой категории:

Нужна консультация?

Подробно расскажем о наших услугах, видах работ и типовых проектах, рассчитаем стоимость и подготовим индивидуальное предложение!