Вентиль запорно-регулирующий с сильфонным уплотнением АСТА серии В413

Вентиль запорно-регулирующий с сильфонным уплотнением АСТА серии В413

DN: 15-200
PN: 16 бар
t max°: 220 °С
Материал корпуса: Серый чугун GG25
Присоединение: фланцевое

Вентиль запорно-регулирующий с сильфонным уплотнением АСТА серии В413

Обзор

Запорно-регулирующий вентиль — это тип арматуры, совмещающий в себе функции как запорного элемента системы, так и регулирующего. Регулирование параметров системы осуществляется посредством изменения расхода через проходное сечение благодаря параболической форме плунжера. Данные вентили применяются в трубопроводах различных систем: технологических, пароконденсатных, водо- и теплоснабжения.

Особенности конструкции

  • Параболическая форма плунжера для регулирования потока
  • Мягкое уплотнение затвора PTFE
  • Сильфонное уплотнение по штоку, не требующее периодического сервисного обслуживания
  • Аварийное сальниковое уплотнение
  • Указатель положения «открыто/закрыто»
  • Невыдвижная конструкция штока

Обзор моделей

Тех. информация

Номинальный диаметр DN15 – 400
Условное давление PN40 бар
Температура рабочей средыОт –60 °С до 350 °С
Рабочая средаВПар, вода, воздух, нефтепродукты и другие среды, совместимые с материалами конструкции вентиля
Класс герметичности«А» по ГОСТ 9544-2015
Тип присоединенияРезьбовой G
Фланцевый по ГОСТ 33259-2015
Тип управленияРезьбовой G
Штурвал — стандарт / Редуктор, электропривод — по запросу
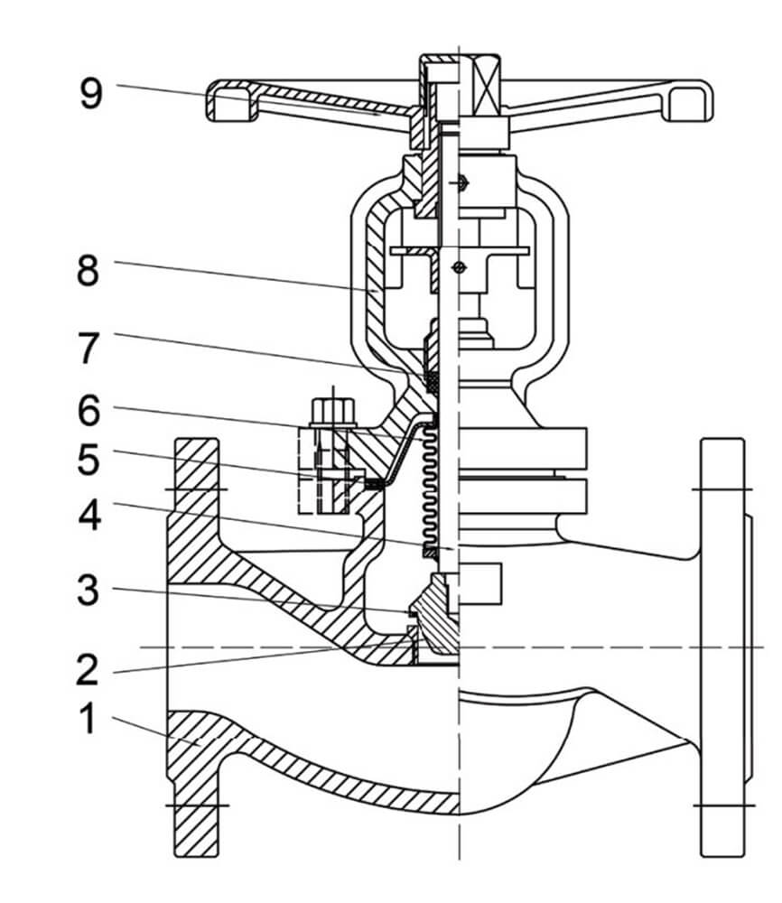
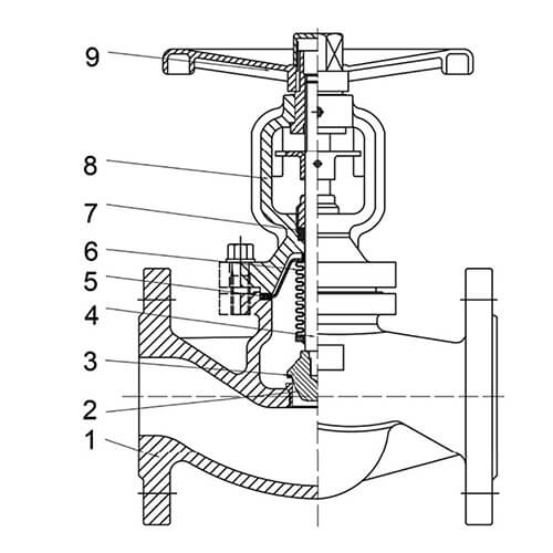
НаименованиеМатериал
1КорпусСерый чугун GG25
2ПлунжерНержавеющая сталь 20Х13
3Уплотнение затвораPTFE
4ШтокНержавеющая сталь 20Х13
5Уплотнение по корпусуГрафит
6Сильфон08Х17Н13М2Т
7Уплотнение по штокуГрафит
8Крышка корпусаВысокопрочный чугун GGG40
9ШтурвалУглеродистая сталь

Скачать

Цвета

DOP, CAD

Еще в этой категории:

Нужна консультация?

Подробно расскажем о наших услугах, видах работ и типовых проектах, рассчитаем стоимость и подготовим индивидуальное предложение!