Вентиль запорный с сильфонным уплотнением АСТА В313

Вентиль запорный с сильфонным уплотнением АСТА В313

DN: 15-300
PN: 16 бар
t max°: 300 °С
Материал корпуса: Серый чугун GG25
Присоединение: фланцевое

Вентиль запорный с сильфонным уплотнением АСТА В313

Обзор

Вентили — запорная арматура, предназначенная для перекрытия потока среды в трубопроводах различных систем: технологических, пароконденсатных, водо- и теплоснабжения.

Особенности конструкции

  • Уплотнение по затвору «металл-металл»
  • Сильфонное уплотнение по штоку, не требующее периодического сервисного обслуживания
  • Аварийное сальниковое уплотнение
  • Указатель положения «открыто/закрыто»
  • Невыдвижная конструкция штока

Обзор моделей

Тех. информация

Номинальный диаметр DN15 – 300
Условное давление PN16 бар
Температура рабочей средыОт –10 °С до 300 °С
Рабочая средаВода, пар, воздух и другие среды, совместимые с материалами конструкции вентиля
Тип присоединенияРезьбовой G
Фланцевый по ГОСТ 33259-2015
Тип управленияРезьбовой G
Штурвал — стандарт / Редуктор, электропривод — по запросу
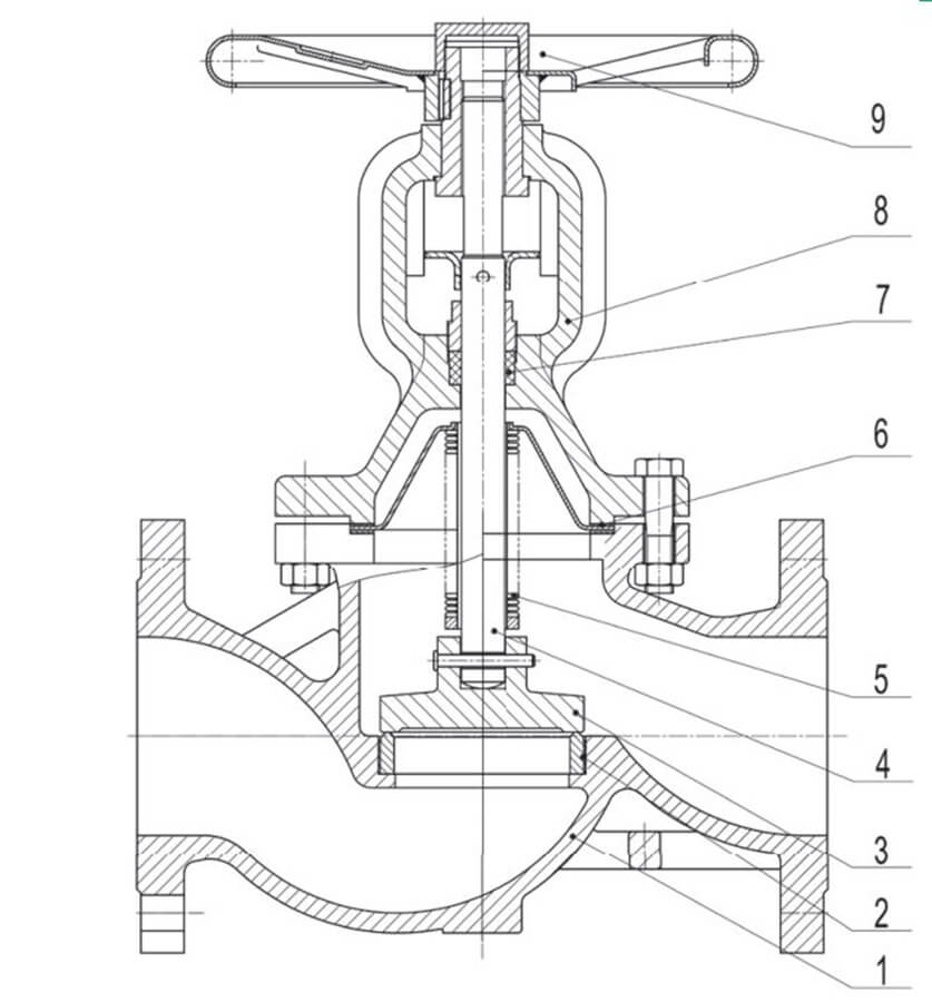
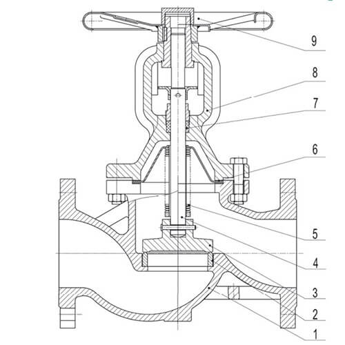
НаименованиеМатериал
1КорпусСерый чугун GG25
2СедлоНержавеющая сталь 20Х13
3ПлунжерНержавеющая сталь 20Х13
4ШтокНержавеющая сталь 20Х13
5Сильфон08Х17Н13М2Т
6Уплотнение корпусаГрафит
7Уплотнение штокаГрафит
8Крышка корпусаВысокопрочный чугун GGG40
9ШтурвалУглеродистая сталь

Скачать

Цвета

DOP, CAD

Еще в этой категории:

Нужна консультация?

Подробно расскажем о наших услугах, видах работ и типовых проектах, рассчитаем стоимость и подготовим индивидуальное предложение!