Thermodynamic steam traps ASTA TD131 and TD133

DN: 15–50
PN: 40 bar
t max°: 350 °С
Body material: carbon steel
Connection: threaded, flanged

Overview

TD TERMOKON is a thermodynamic steam trap designed for efficient condensate drainage from steam lines.
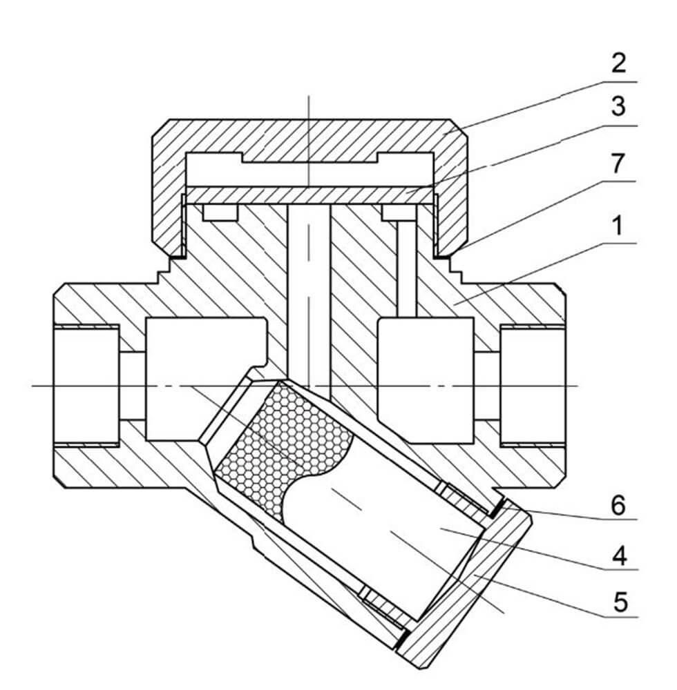
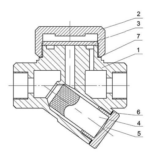
The operating principle is based on the difference in steam and condensate velocities. Cold condensate lifts the disk and is discharged through the outlet channels. As the condensate temperature increases, secondary boiling steam is formed, as a result of which the flow velocity under the disk increases and it is pressed against the seat. The cycle is repeated when steam condenses above the disk.
It is mainly used for drainage of steam pipelines, steam tracers, steam presses, vulcanizers, etc.

Advantages

  • Compact dimensions
  • Wide range of operating pressures and temperatures
  • Cyclic condensate drainage
  • Resistant to water hammer and freezing
  • Built-in filter

Model overview

Those. information

Nominal diameter DN 15 –25
Nominal pressure PN 40 bar
Maximum temperature of the working medium Tmax Up to 350 °С
Minimum inlet pressure P1 1.5 bar
Maximum back pressure P2 0.6P1
Working medium Water vapor
Location on the pipeline Horizontal, vertical
Type of connection TD131 – Internal thread NPT
TD133 –Flanged according to GOST 33259-2015
Name Material
1 Body WCB Steel
2 Cover 20X13 Steel
3 Disk Steel 20X13
4 Filter Steel AISI 304
5 Plug Steel 45
6 Plug seal AISI 304 + Graphite
7 Body seal AISI 304 + Graphite

Download

Colors

DOP

More in this category:

Need a consultation?

We will tell you in detail about our services, types of work and typical projects, calculate the cost and prepare an individual offer!