Мембранно-плунжерный поплавковый регулятор уровня АСТА серии Р02/06

Мембранно-плунжерный поплавковый регулятор уровня АСТА серии Р02/06

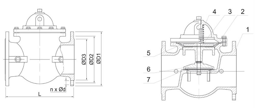
DN: 50 - 250
PN: 16 бар
t max°: 80 °С
Материал корпуса: чугун ВЧ
Присоединение: фланцевое

Мембранно-плунжерный поплавковый регулятор уровня АСТА серии Р02/06

Обзор

Регулирующие клапаны АСТА серии Р02 предназначены для регулирования потока рабочей среды путем изменения проходного сечения клапана.
Усилие, создаваемое рабочей средой, подается в привод через импульсные трубки, действует на мембрану привода и пружину клапана, тем самым приводя шток в движение.
Клапаны имеют широкий спектр применений в зависимости от типа управляющего пилота.

Особенности конструкции

  • Высокое регулировочное отношение (широкий диапазон рабочих расходов)
  • Различные монтажные положения (горизонтальное/вертикальное)
  • Клапан не требует технического обслуживания в течение длительного времени благодаря коррозионностойким компонентам
  • Эпоксидное покрытие корпуса
  • Мягкое уплотнение плунжера (герметичность в закрытом положении)

Обзор моделей

Тех. информация

Номинальный диаметр DN 50 – 250
Условное давление PN 16 бар
Температура рабочей среды От –10 °C до 80 °C
Рабочая среда Вода и другие жидкие среды, совместимые с материалами конструкции клапана
Пропускная способность, Kvs 38 – 1126 м3/ч
Тип присоединения Фланцевый по ГОСТ 33259-2015
Наименование Материал
1 Корпус Высокопрочный чугун EN-GJS-450-10
2 Крышка Высокопрочный чугун EN-GJS-450-10
3 Шток Сталь 20Х13
4 Пружина Сталь Х18Н10Т
5 Мембрана Натуральный каучук
6 Плунжер Сталь 04Х18Н10
7 Прокладка NBR

Скачать

Цвета

DOP, CAD

Еще в этой категории:

Нужна консультация?

Подробно расскажем о наших услугах, видах работ и типовых проектах, рассчитаем стоимость и подготовим индивидуальное предложение!