2-х ходовые регулирующие клапаны с электро- и пневмоприводами АСТА серии Р642 из нержавеющей стали

2-х ходовые регулирующие клапаны с электро- и пневмоприводами АСТА серии Р642 из нержавеющей стали

DN: 15 - 25
PN: 40 -160 бар
t max°: 220 °С
Материал корпуса: нержавеющая сталь
Присоединение: межфланцевое

2-х ходовые регулирующие клапаны с электро- и пневмоприводами АСТА серии Р642 из нержавеющей стали

Обзор

АСТА Р642 — межфланцевый односедельный двухходовой регулирующий клапан компактной конструкции, который управляется электрическим/пневматическим приводом.
Данные клапаны предназначены для точного регулирования потока и применяются в технологических системах высокого давления.

Особенности конструкции

  • Межфланцевое исполнение корпуса обладает более компактными габаритными характеристиками
  • Замена управляющего органа возможна без демонтажа клапана с трубопровода
  • Ремонтопригодная конструкция
  • По запросу клиента возможна установка электропневматических позиционеров со стандартным управлением 4…20 мА, а также с дополнительными опциями (обратная связь, протокол HART, PROFIBUS, взрывозащитой и др.)

Обзор моделей

Тех. информация

Номинальный диаметр DN15 – 25
Условное давление PN40-160
Температура рабочей средыОт –60 °C до +220 °C
Рабочая средаВода, пар, сжатый воздух, и другие среды, совместимые с конструкцией клапана
Характеристики регулированияЛинейная / равнопроцентная* / отсечная*
Диапазон регулирования30:1
Пропускная способность, Kvs4 – 10 м3/ч
Компенсация давленияНеразгруженный по давлению
Класс герметичностиIV по ГОСТ 9544-2015
Тип присоединенияМежфланцевый
Тип управленияЭлектропривод / пневмопривод
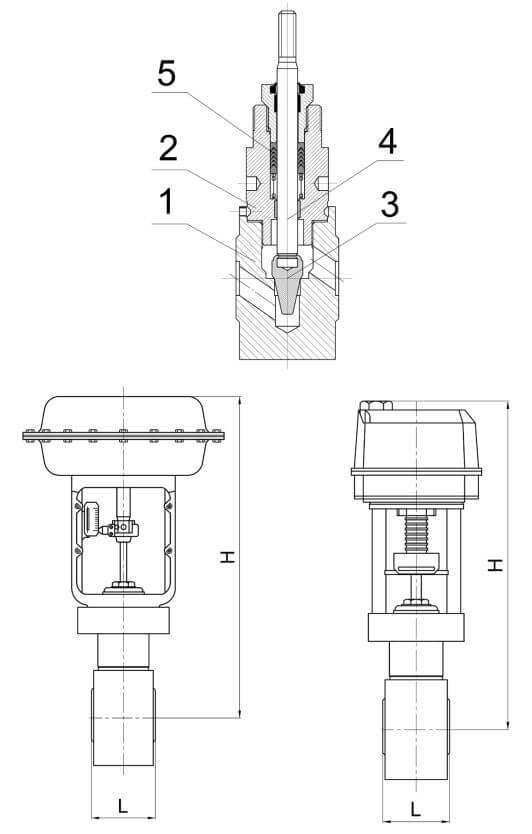
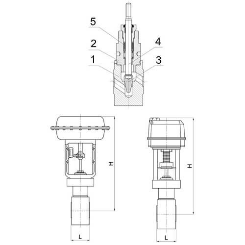
НаименованиеМатериал
1КорпусНержавеющая сталь 12Х18Н9
2НаправляющаяНержавеющая сталь 12Х18Н9
3ПлунжерНержавеющая сталь 12Х18Н9
4ШтокНержавеющая сталь 12Х18Н9
5Уплотнение штокаPTFE

Скачать

Цвета

DOP, CAD

Еще в этой категории:

Нужна консультация?

Подробно расскажем о наших услугах, видах работ и типовых проектах, рассчитаем стоимость и подготовим индивидуальное предложение!