2-х ходовые высокотемпературные регулирующие клапаны АСТА серии Р533 из углеродистой стали

2-х ходовые высокотемпературные регулирующие клапаны АСТА серии Р533 из углеродистой стали
2-х ходовые высокотемпературные регулирующие клапаны АСТА серии Р533 из углеродистой стали

Обзор

АСТА Р533 и Р543 — односедельный двухходовой регулирующий клапан высокотемпературной конструкции, который управляется электрическим/пневматическим приводом. Предназначен для точного дистанционного регулирования или перекрытия потока рабочей среды. Клапан применяется в технологических системах высокой температуры.

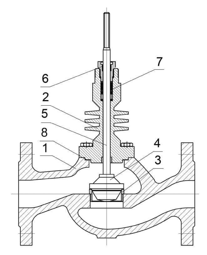
Особенности конструкции

  • Охлаждающее оребрение крышки корпуса
  • Стеллитирование внутренних частей клапана (до 425°C)
  • Уплотнение по затвору «металл-металл»
  • Ремонтопригодная конструкция
  • Опционально доступны различные исполнения уплотнительных поверхностей фланцев клапана (исп. C, L, D, M и др.)
  • По запросу клиента возможна установка электропневматических позиционеров со стандартным управлением 4…20 мА, а также с дополнительными опциями (обратная связь, протокол HART, PROFIBUS, взрывозащитой и др.)

Обзор моделей

Тех. информация

Серия Р533 Р543
Номинальный диаметр DN15 – 200
Условное давление PN40 бар
Температура рабочей средыОт -40 °C до 350 / 425 °CОт -60 °C до 350 / 425 °C
Рабочая средаПар, вода, сжатый воздух, нефтепродукты и другие среды, совместимые с конструкцией клапана
Характеристики регулированияЛинейная / равнопроцентная / отсечная
Диапазон регулирования30:1
Пропускная способность, Kvs1,0 – 400 м3/ч
Компенсация давленияНеразгруженный по давлению
Класс герметичностиIII по ГОСТ 9544-2015
Тип присоединенияФланцевый по ГОСТ 33259-2015
Тип управленияЭлектропривод / пневмопривод
НаименованиеР533Р543
1КорпусУглеродистая сталь GS-C25 Нержавеющая сталь CF8
2КрышкаСталь 20Сталь 12Х18Н10Т
3СедлоСталь 20X13Сталь 12Х18Н10Т
4ПлунжерСталь 20X13Сталь 12Х18Н10Т
5ШтокСталь 20X13Сталь 12Х18Н10Т
6НаправляющаяPTFE/Бронза
7СальникPTFE/Графит
8Уплотнение корпусаГрафлекс

Скачать

Цвета

DOP, CAD

Еще в этой категории:

Нужна консультация?

Подробно расскажем о наших услугах, видах работ и типовых проектах, рассчитаем стоимость и подготовим индивидуальное предложение!