3-х ходовые регулирующие клапаны с электро- и пневмоприводами чугунные АСТА серии Р323 ТЕРМОКОМПАКТ

3-х ходовые регулирующие клапаны с электро- и пневмоприводами чугунные АСТА серии Р323 ТЕРМОКОМПАКТ

DN: 15-450
PN: 16 - 25 бар
t max°: 220 °С
Материал корпуса: высокопрочный чугун
Присоединение: фланцевое

3-х ходовые регулирующие клапаны с электро- и пневмоприводами чугунные АСТА серии Р323 ТЕРМОКОМПАКТ

Обзор

АСТА Р323 ТЕРМОКОМПАКТ — трехходовой регулирующий клапан облегченной конструкции, управляемый электрическим приводом, предназначенный для точного дистанционного смешивания и разделения рабочей среды.
Новая линейка клапанов ТЕРМОКОМПАКТ была специально спроектирована для применения в стеснённых условиях на объектах жилищно-коммунальных хозяйств (котельные, ЦТП, ИТП) в санитарно-технических системах зданий
(отопле-ние, вентиляция, водоснабжение).

Особенности конструкции

  • Компактные размеры клапана
  • Упрощенная конструкция сальникового узла
  • Смешивающий плунжер (функция разделения доступна при применении тихоходного привода)

Обзор моделей

Тех. информация

Номинальный диаметр DN 15 –450
Условное давление PN 16 – 25 бар
Температура рабочей среды От –15°С до 220 °С
Рабочая среда Вода, гликоли, а также другие среды, совместимые с материалами конструкции клапана
Характеристика регулирования Линейная (угловое направление потока)
Равнопроцентная (прямое направление потока)
Компенсация давления Неразгруженный по давлению
Класс герметичности III по ГОСТ 9544-2015
Тип присоединения Фланцевый по ГОСТ 33259-2015, исп.В
Тип управления Электропривод / пневмопривод
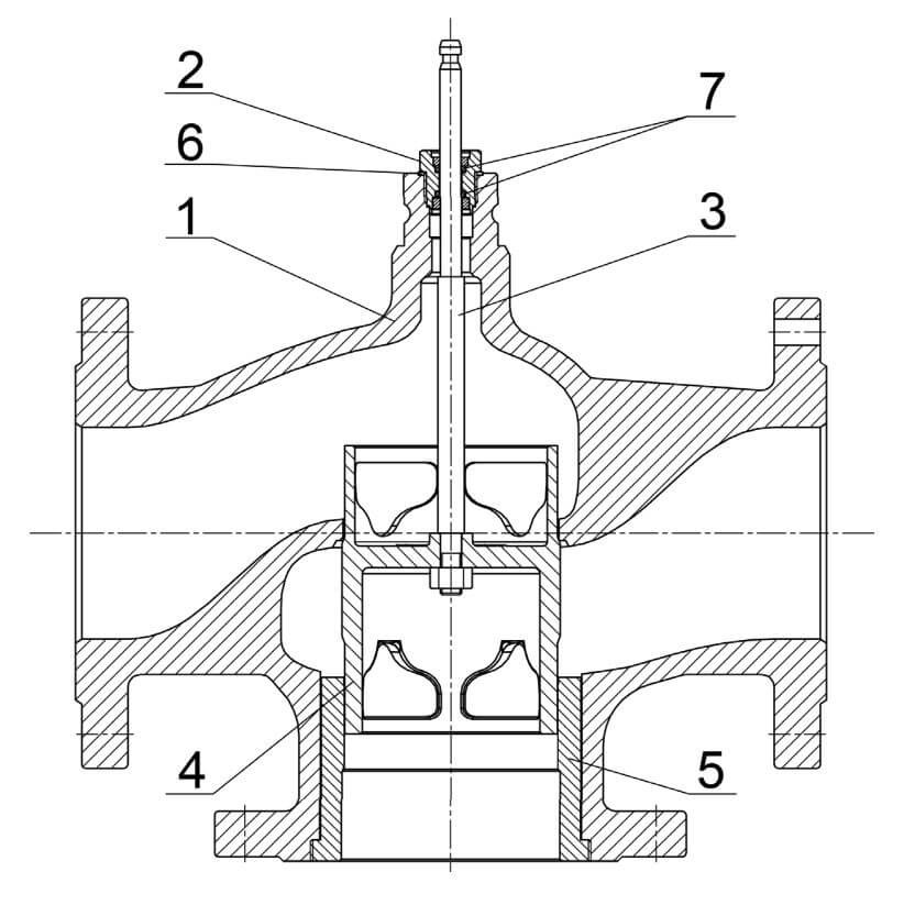
Наименование Материал
1 Корпус Высокопрочный чугун GGG40
2 Букса Нержавеющая сталь SS 304
3 Шток Нержавеющая сталь SS 304
4 Плунжер Нержавеющая сталь SS 304
5 Седло Сталь 20
6 Шайба Бронза
7 Уплотнительное кольцо PTFE

Скачать

Цвета

DOP, CAD

Еще в этой категории:

Нужна консультация?

Подробно расскажем о наших услугах, видах работ и типовых проектах, рассчитаем стоимость и подготовим индивидуальное предложение!