Регулятор давления «до себя» АСТА серии Д123/РДС ТЕРМОКОМПАКТ

Регулятор давления «до себя» АСТА серии Д123/РДС ТЕРМОКОМПАКТ

DN: 15 - 200
PN: 16 - 25
t max°: 150 °С
Материал корпуса: Высокопрочный чугун ВЧ40
Присоединение: Фланцевое

Регулятор давления «до себя» АСТА серии Д123/РДС ТЕРМОКОМПАКТ

Обзор

АСТА Д100 ― односедельный клапан прямого действия, предназначен для автоматического поддержания заданного давления рабочей среды, принцип действия которого основан на уравновешивании силы упругой деформации настроечной пружины и силы, создаваемой разностью давлений в камерах мембранного привода.
Новая линейка регуляторов ТЕРМОКОМПАКТ была спроектирована для применения в стесненных условиях на объектах жилищно-коммунальных хозяйств (котельные, ЦТП, ИТП) в санитарно-технических системах зданий (отопление, вентиляция, водоснабжение).

Особенности конструкции

  • Модульная конструкция ― универсальный клапан, совместимый с различными типами регулирующих блоков
  • Модернизированная конструкция разгрузочной камеры затвора
  • Сниженная величина зоны нечувствительности
  • Разъемное соединение штока регулирующего блока исключает повреждения при транспортировке
  • Полная ремонтопригодность без демонтажа с трубопровода

Опции по запросу

  • Специальная конструкция регулирующих блоков (различные мембраны, широкие диапазоны настроек и т. д.)
  • Нестандартные значения Kvs
  • Мягкое уплотнение затвора

Обзор моделей

Тех. информация

Номинальный диаметр DN 15 – 200
Условное давление PN 25 бар для DN 15 – 80
16 бар для DN 100 – 200
Максимальная температура рабочей среды Tmax От -30°С до 150 °С
Рабочая среда Вода, гликоли, а также другие среды, совместимые с материалами конструкции регулятора
Диапазон давления настройки 0,4 – 2,0 бар – красная пружина
1,0 – 8,0 бар – желтая пружина
4,0 – 12 бар – две пружины
Пропускная способность клапана, Kvs 4,0 – 125 м3/ч
Класс герметичности VI по ГОСТ 9544-2015
(уплотнение по затвору EPDM/PTFE)
III по ГОСТ 9544-2015
(уплотнение по затвору «металл-металл»
Зона нечувствительности Не более 2,5% от верхнего предела настройки по ГОСТ 11881-76
Зона пропорциональности Не более 6% от верхнего предела настройки по ГОСТ 11881-76
Положение безопасности Нормально-открытое / нормально-закрытое
Компенсация давления Разгруженный по давлению
Отбор импульса рабочей среды Внешний
Тип присоединения Фланцевый по ГОСТ 33259-2015, исп. В
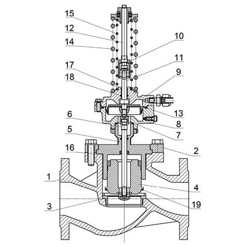
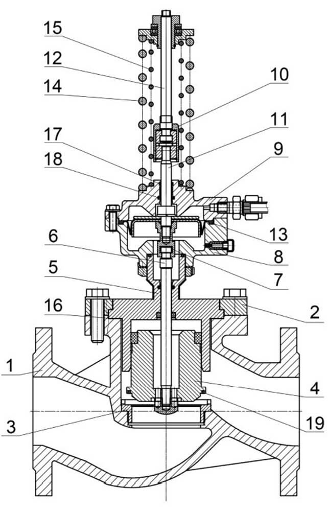
Наименование Материал
1 Корпус Высокопрочный чугун ВЧ40
2 Крышка Сталь 25
3 Седло Нержавеющая сталь 20Х13
4 Плунжер Нержавеющая сталь 20Х13
5 Втулка Нержавеющая сталь 20Х13
6 Шток нижний Нержавеющая сталь 20Х13
7 Муфта Нержавеющая сталь 20Х13
8 Крышка нижняя Серый чугун СЧ25
9 Крышка верхняя Серый чугун СЧ25
10 Муфта Нержавеющая сталь 20Х13
11 Шток привода нижний Нержавеющая сталь 20Х13
12 Шток привода верхний Нержавеющая сталь 20Х13
13 Мембрана EPDM
14 Пружина большая (желтая) Сталь 60С2А
15 Пружина малая (красная) Сталь 60С2А
16 Уплотнение корпуса Графлекс
17 Уплотнение штока PTFE / EPDM
18 Уплотнение плунжера PTFE

Скачать

Цвета

DOP, CAD

Еще в этой категории:

Нужна консультация?

Подробно расскажем о наших услугах, видах работ и типовых проектах, рассчитаем стоимость и подготовим индивидуальное предложение!