Термостатические капсульные конденсатоотводчики АСТА КТ131 и КТ133

Термостатические капсульные конденсатоотводчики АСТА КТ131 и КТ133

DN: 15–50
PN: 16 бар
t max°: 250 °С
Материал корпуса: углеродистая сталь
Присоединение: резьбовое, фланцевое

Термостатические капсульные конденсатоотводчики АСТА КТ131 и КТ133

Обзор

АСТА КТ ТЕРМОКОН — термостатический капсульный конденсатоотводчик, предназначенный для эффективного отвода конденсата из паровых линий.
Принцип действия основан на разности температур пара и конденсата. Изменение температуры приводит к вскипанию/конденсации жидкости внутри капсулы, соединенной с выпускным клапаном, что позволяет отводить неконденсируемые газы и конденсат ниже температуры насыщения.
Преимущественно применяется для дренажа пароспутников, автоклавов, варочных котлов, вулканизаторов, отопительного оборудования и др.

Преимущества

  • Компактные размеры
  • Отвод доохлажденного конденсата
  • Устойчивость к гидроударам
  • Отвод воздуха
  • Встроенный фильтр

Обзор моделей

Тех. информация

Номинальный диаметр DN 15 – 50
Условное давление PN 16 бар
Максимальная температура рабочей среды Tmax До 250 °С
Рабочая среда Водяной пар
Расположение на трубопроводе Горизонтально, вертикально
Тип присоединения КТ131 — Внутренняя резьба BSPT
КТ133 — Фланцевый по ГОСТ 33259-2015
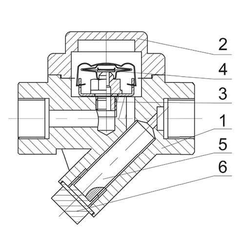
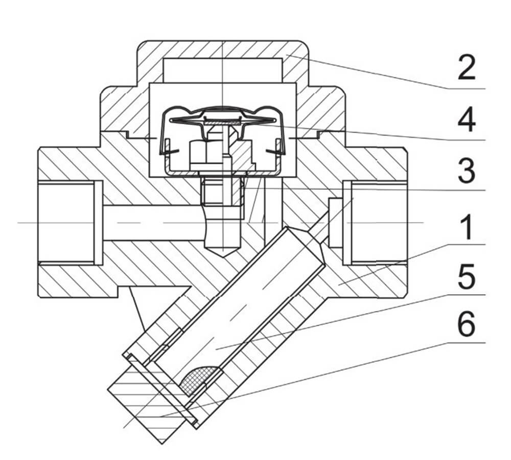
Наименование Материал
1 Крышка Cталь WCB
2 Корпус Cталь WCB
3 Седло Сталь 20X13
4 Капсула Cталь AISI 304
5 Фильтр Cталь AISI 304
6 Пробка Сталь 25

Скачать

Цвета

DOP, CAD

Еще в этой категории:

Нужна консультация?

Подробно расскажем о наших услугах, видах работ и типовых проектах, рассчитаем стоимость и подготовим индивидуальное предложение!