Bimetallic steam traps ASTA TB131 and TB133

DN: 15–50
PN: 40 bar
t max°: 220 °С
Body material: carbon steel
Connection: threaded, flanged

Overview

TB TERMOKON is a thermostatic bimetallic steam trap designed for efficient condensate drainage from steam lines.
The operating principle is based on the temperature difference between steam and condensate. The temperature change causes the bimetallic element connected to the outlet valve to expand/contract, allowing non-condensable gases and condensate to be drained below the saturation temperature.
It is mainly used for drainage of superheated steam pipelines, steam registers, steam tracers, heating equipment, etc.

Advantages

  • Drainage of pre-cooled condensate
  • Compact dimensions
  • Continuous condensate drainage
  • Resistant to water hammer and freezing
  • Built-in filter
  • Plunger design with a "check valve" function

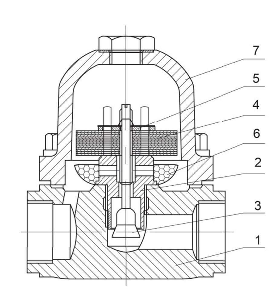
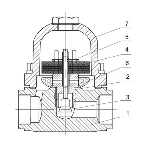
Model overview

Those. information

Nominal diameter DN 15 –25
Nominal pressure PN 40 bar
Maximum temperature of the working medium Tmax Up to 220 °С
Working medium Water vapor
Location on the pipeline Horizontal, vertical
Connection type TB131 — Internal thread R
TB133 — Flanged according to GOST 33259-2015
Name Material
1 Body WCB Steel
2 Seat 20X13 Steel
3 Plunger Steel 20X13
4 Bimetallic element Bimetal
5 Space ring Steel AISI 304
6 Filter Steel AISI 304
7 Cover Steel WCB

Download

Colors

DOP

More in this category:

Need a consultation?

We will tell you in detail about our services, types of work and typical projects, calculate the cost and prepare an individual offer!