Предохранительные клапаны из нержавеющей стали АСТА П341

Предохранительные клапаны из нержавеющей стали АСТА П341

DN: 15 – 25 (1/2” – 1”)
PN: 40 бар
t max°: 220 °С
Материал корпуса: нержавеющая сталь
Присоединение: резьбовое R-Rc (вход-выход)

Предохранительные клапаны из нержавеющей стали АСТА П341

Обзор

Предохранительные клапаны АСТА серии П341 и П361 — малоподъёмные пружинные угловые клапаны, предназначенные для автоматической защиты оборудования и трубопроводов от недопустимого превышения давления. Принцип действия основан на разности силы упругой деформации пружины и силы, создаваемой давлением рабочей среды. При превышении давления настройки клапана происходит сброс избытка рабочей среды. Преимущественно используется для защиты паропроводов, сосудов под давлением (ресиверы, автоклавы, пастеризаторы и т.д.), обвязок тепловых энергоустановок и другого промышленного оборудования.

Обзор моделей

Тех. информация

  • Негазоплотное исполнение
  • Принудительный подрыв рычагом
  • Уплотнение затвора «металл-металл»
  • Газоплотное исполнение без подрыва*
  • Мягкое уплотнение затвора (PTFE/Silicone)*
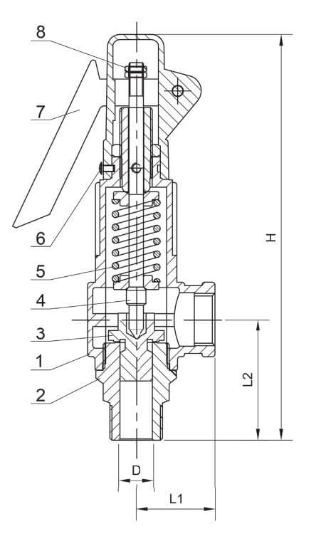
Конструкция


Наименование П341 П361
1КорпусНержавеющая сталь SS304Латунь CuSn5ZnPb
2СедлоНержавеющая сталь SS316Латунь CuZn40Pb2
3ПлунжерНержавеющая сталь SS316Латунь CuZn40Pb2
4ШтокНержавеющая сталь SS304Латунь CuZn40Pb3
5ПружинаНержавеющая сталь SS304Сталь 65Mn
6ВинтНержавеющая сталь SS304Углеродистая сталь Q235
7РычагНержавеющая сталь SS304Углеродистая сталь Q235
8Стопорная гайкаНержавеющая сталь SS304Углеродистая сталь Q235

Скачать

Цвета

DOP, CAD

Еще в этой категории:

Нужна консультация?

Подробно расскажем о наших услугах, видах работ и типовых проектах, рассчитаем стоимость и подготовим индивидуальное предложение!