Pressure regulator for saturated and superheated steam ASTA series D223

DN: 15 - 100
PN: 16/25
t max°: 350°C
Body material: High-strength cast iron ВЧ40
Connection: Flanged

Overview

ASTA D200 is a direct-acting single-seat valve with a bellows seal, designed to automatically maintain a given pressure of the working medium, the operating principle of which is based on balancing the force of elastic deformation of the adjustment spring and the force created by the pressure difference in the chambers of the diaphragm actuator

Design Features

  • The design with two durable bellows allows the pressure regulator to be operated at high temperatures and in aggressive environments without maintenance;
  • The presence of a second unloading bellows in the design reduces the valve control force;
  • Ease of valve adjustment is ensured by the presence of a bearing in the pressure adjustment system;
  • Minimal friction of the running parts ensures high adjustment accuracy;
  • Quick drive change system with a variable number of springs to change the adjustable control pressure;
  • Full maintainability without dismantling from the pipeline;
  • The regulator is supplied complete with a pulse cooler and a needle valve

Options on request

  • Special design of control units (various membranes, wide setting ranges, etc.)
  • Non-standard Kvs values
  • Soft sealing of the shutter (VI class of tightness).

Model overview

Those. information

Nominal diameter DN15 – 200
Nominal pressure PN25 bar for DN 15– 80
16 bar for DN 100– 200
Temperature of working mediumup to +350 °С
Working mediumSteam, air, and other media compatible with the materials of the regulator construction
Setting pressure range1.0-4.0 bar – red spring
2.0-8.0 bar – yellow spring
4.0-12 bar – two springs
Valve capacity, Kvs1.0 - 125 m3/h
Tightness classII according to GOST 9544-2015
DeadbandNo more than 2.5% of the upper limit of the setting according to GOST 11881-76
Proportionality bandNo more than 6% of the upper limit of the setting according to GOST 11881-76
Position safetyNormal open
Pressure compensationPressure-balanced
Working medium pulse samplingExternal
Connection typeFlanged according to GOST 33259-2015, isp. B
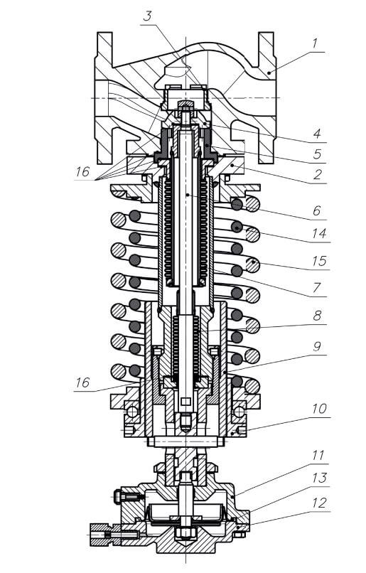
NameMaterial
1BodyHigh-strength cast iron VCh40
2CoverSteel 25
3SaddleSteel 20X13
4PlungerSteel 20Х13
5BushingSteel 14Х17Н2
6RodSteel 20Х13
7Unloading bellowSteel 08Х18Н10Т
8BellowSteel 08Х18Н10Т
9CupSteel 20Х13
10Leg nutSteel 20Х13
11Bottom coverSteel 25Л
12Top coverSteel 25Л
13MembraneEPDM
14Small spring60С2А
15Spring large60С2А
16Body sealGraphlex

Download

Colors

DOP

More in this category:

Need a consultation?

We will tell you in detail about our services, types of work and typical projects, calculate the cost and prepare an individual offer!