Brass safety valves ASTA P361

DN: 15 – 25 (1/2” – 1”)
PN: 40 bar
t max°: 220 °С
Body material: brass
Connection: threaded R-Rc (inlet-outlet)

Overview

Safety valves ASTA series P341 and P361 are low-lift spring angle valves designed for automatic protection of equipment and pipelines from unacceptable excess pressure. The operating principle is based on the difference in the elastic deformation force of the spring and the force created by the pressure of the working medium. When the valve setting pressure is exceeded, the excess working medium is discharged. Mainly used to protect steam pipelines, pressure vessels (receivers, autoclaves, pasteurizers, etc.), piping of thermal power plants and other industrial equipment.


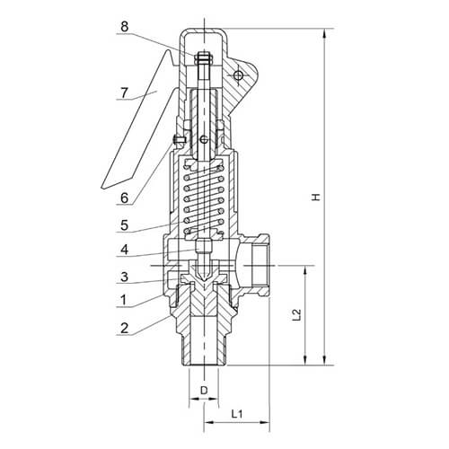
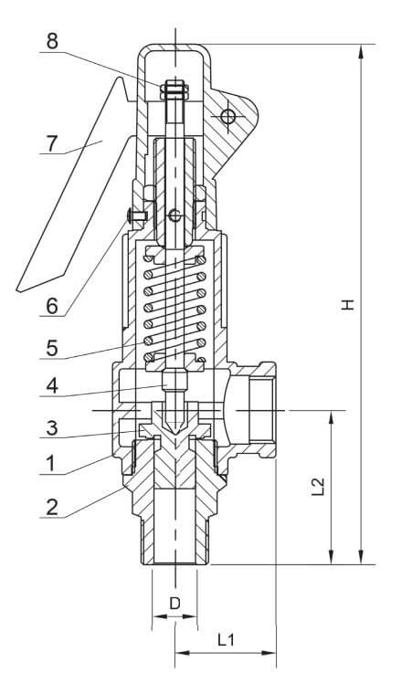
Design


Name П341 П361
1 Body Stainless steel SS304 Brass CuSn5ZnPb
2 Seat Stainless steel SS316 Brass CuZn40Pb2
3 Plunger Stainless steel SS316 Brass CuZn40Pb2
4 Plunger Stainless steel SS304 Brass CuZn40Pb3
5 Spring Stainless steel SS304 Steel 65Mn
6 Screw Stainless steel SS304 Carbon steel Q235
7 Lever Stainless steel SS304 Carbon steel Q235
8 Lock Nut SS304 Stainless Steel Q235 Carbon Steel

Model overview

Those. information

  • Non-gas-tight design
  • Forced detonation by lever
  • Metal-to-metal shutter seal
  • Gas-tight design without detonation*
  • Soft shutter seal (PTFE/Silicone)*

Download

Colors

DOP

More in this category:

Need a consultation?

We will tell you in detail about our services, types of work and typical projects, calculate the cost and prepare an individual offer!